Elesa+Ganter wprowadziła do swojej oferty nowe stopy wahliwe tłumiące drgania z serii LS.VA (Rys. 1). Nowe produkty bazują konstrukcyjnie na dobrze znanych klientom stopach wahliwych serii LS.A oraz wibroizolatorach DVA, które już wcześniej znajdowały się w asortymencie Elesa+Ganter. Korpus stóp wykonano z technopolimeru na bazie poliamidu (PA), wzmacnianego włóknami szklanymi, a wkładkę tłumiącą z gumy poliuretanowej (PUR) o twardości 50 w skali Shore A.
„Nowe rozwiązanie, dzięki szczególnej konstrukcji łączy ze sobą dwie funkcje: tłumi wibracje oraz umożliwia wypoziomowanie urządzenia poprzez regulację na śrubie. Nowa seria świetnie sprawdzi się w sytuacji, gdy mamy do czynienia z nierównościami, odchyleniami poziomu oraz potrzebą ustalenia odpowiedniego nachylenia. Ułatwi też posadowienie maszyn w przypadku ich relokacji.” – mówi Filip Granowski, Dyrektor Zarządzający Elesa+Ganter Polska.

Rys. 1. Stopa wahliwa tłumiąca drgania LS.VA
W zależności od materiału, z którego jest wykonany trzpień gwintowany z przegubem kulowym, wyróżniamy poniższe wersje:
- LS.VA – wykonanie ze stali ocynkowanej;
- LS.VA-SST – wykonanie ze stali nierdzewnej AISI 304;
- LS.VA-STP – wykonanie z wzmocnionego włóknami szklanymi SUPER-technopolimeru na bazie poliamidu (PA).

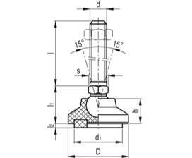
Rys. 2. Budowa stopy wahliwej tłumiącej drgania LS.VA
Stopy wahliwe serii LS.VA zostały zaprojektowane w celu tłumienia wibracji maszyn i urządzeń. Skuteczność tłumienia drgań, zależy od stosunku częstotliwości drgań maszyny do częstotliwości drgań własnych stopy tłumiącej. Tłumienie rozpoczyna się, gdy stosunek między częstotliwością drgań maszyny, a częstotliwością drgań własnych stopy tłumiącej jest większy niż √2. Im większa jest różnica między częstotliwością drgań maszyny, a częstotliwością drgań własnych stopy, tym większe jest tłumienie (Rys. 3).

Rys. 3. Wykres wskazujący stopień tłumienia dla stopy LS.VA
Dobór odpowiedniego typu i rozmiaru stopy wahliwej, tłumiącej drgania jest bardzo istotny. Poprawnie dobrane rozwiązanie zapewnia stabilność, wypoziomowanie oraz odpowiednie tłumienie drgań w maszynie. Błędnie dobrane posadowienie może znacząco obniżyć żywotność maszyny oraz podnieść poziom generowanego przez nią hałasu. Stopy wahliwe mogą być stosowane przy maszynach i urządzeniach, zarówno do izolowania generowanych przez nie wibracji, jak i wpływu niekorzystnych drgań z zewnątrz.
Firma Elesa+Ganter w kartach katalogowych produktu podaje niezbędne dane techniczne oraz wskazówki doboru. W przypadku jakichkolwiek pytań i wątpliwości, doradcy techniczni chętnie pomogą dobrać rozwiązanie idealne do specyfiki danej aplikacji.
Link do kart katalogowych znajdują się poniżej:
LS.VA Stopy z tłumieniem wibracji - wibroizolatory | Elesa+Ganter (elesa-ganter.pl)
LS.VA-SST Stopy z tłumieniem wibracji - wibroizolatory | Elesa+Ganter (elesa-ganter.pl)
Redakcja: Elesa+Ganter Polska
Informacje o pełnej ofercie produktowej znajdują się w katalogu:
Katalog podstawowy 048 (wersja polskojęzyczna)
lub na stronie: www.elesa-ganter.pl
Jeśli nie posiadasz katalogu – zamów!
Kontakt:
Centrala: +48 22 737 70 47
Pomoc techniczna: +48 885 020 800