Firma ELESA+GANTER wprowadziła do swojej oferty trzpienie ustalające ze ściętym sworzniem blokującym z serii GN 824 (rys. 1).
„Standardowo trzpienie ustalające są zaprojektowane w celu ułatwienia wykonywania powtarzalnych operacji pozycjonowania. Proces blokowania zwykle wykorzystuje cylindryczny otwór, który jest wyrównany ze sworzniem trzpienia, umożliwiając bezproblemowe osadzenie się sworznia. Nowe wykonanie trzpieni daje możliwość samoczynnego odwiedzenia się sworznia i zablokowania się we wcześniej określonej pozycji.” – mówi Filip Granowski, Dyrektor Zarządzający Elesa+Ganter Polska.

Rys. 1. Trzpienie ustalające ze ściętym sworzniem blokującym – seria GN 824
Trzpienie ustalające GN 824 są wyposażone w trzpień blokujący o kwadratowym przekroju poprzecznym, z jednostronną powierzchnią blokującą i skośnie ściętą krawędzią z drugiej strony.
Gdy element, który ma zostać zablokowany, napiera na ściętą powierzchnię trzpienia, ten zostaje wciśnięty do wnętrza korpusu. Po przejściu elementu przez korpus, trzpień automatycznie wysuwa się z powrotem, uniemożliwiając jego ruch w przeciwnym kierunku. Mechanizm działa jak zatrzask jednokierunkowy. Aby zwolnić blokadę, wystarczy pociągnąć za gałkę, cofając trzpień do korpusu (rys.2).

Rys. 2. Zasada działania trzpienia ze ściętym sworzniem blokującym – seria GN 824
Po zamontowaniu trzpienia ustalającego w korpusie urządzenia sfazowana powierzchnia sworznia może być zorientowana w niewłaściwym dla naszych potrzeb kierunku. Z tego powodu, sworzeń trzpienia można regulować o 360 stopni – po prostu poluzowując śrubę dociskową w pierścieniu podstawy. Oznaczenie na pierścieniu pokazuje orientację sfazowanego sworznia – nawet gdy sam sworzeń trzpienia nie jest widoczny (rys. 3).

Rys. 3. Zmiana orientacji sworznia w trzpieniu blokującym – seria GN 824
Dokładną zasadę działania przedstawia poniższy film.
Trzpienie ustalające z serii GN 824 są wykonane ze stali nierdzewnej w standardowych wersjach (rys. 4):

Rys. 4. Wersje trzpieni ustalających z serii GN 824
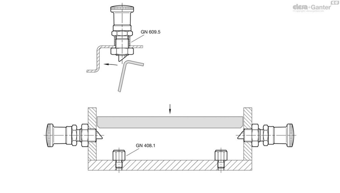
Wybór trzpieni ustalających firmy Elesa+Ganter jest niezwykle zróżnicowany. Mimo to części standardowe nadal znajdują nowe nisze funkcjonalne do wypełnienia. Nowe trzpienie GN 824 to rozwiązanie samoblokujące (dzięki sfazowanemu sworzniowi). Przedstawione trzpienie świetnie sprawdzą się przy blokowaniu (rys. 5):

Rys. 5. Trzpienie ustalające serii GN 824- przykłady zastosowań
W przypadku dodatkowych pytań zachęcamy do kontaktu z Działem Technicznym Elesa+Ganter, który służy pomocą w optymalnym rozwiązaniu każdego problemu natury technicznej.
Link do stron katalogowej znajduje się poniżej:
Redakcja: Elesa+Ganter Polska
Informacje o pełnej ofercie ELESA + GANTER znajdują się na stronie:
Jeśli nie posiadasz katalogu w wersji papierowej – zamów
Kontakt:
Centrala: +48 22 737 70 47
Pomoc techniczna: +48 885 020 800