W ofercie Elesa+Ganter są już dostępne nowe osłony krawędzi serii GN 2194, zapewniające skuteczną ochronę operatorom maszyn i urządzeń przed urazami. Zapobiegają także uszkodzeniom powierzchni. Nowy produkt jest wykonany z kauczuku silikonowego MVQ, zgodnego z FDA. Cechuje się wysoką wytrzymałością i elastycznością. Spełnia także surowe normy sanitarno-higieniczne.
„Bogactwo naszej oferty jest efektem bezustannej pracy zespołu Elesa+Ganter, który przygląda się potrzebom klientów, konstruktorów czy operatorów maszyn i urządzeń i wprowadza nowe rozwiązania podnoszące funkcjonalność i ergonomię standardowych elementów maszyn. Tym razem możemy pochwalić się nowymi osłonami krawędzi, podnoszącymi bezpieczeństwo pracy.” – powiedział Filip Granowski, Dyrektor Zarządzający Elesa+Ganter Polska

Rys. 1. Osłona krawędzi GN 2194
Osłony krawędzi i uszczelki krawędziowe to skuteczne rozwiązanie, które znacznie poprawia bezpieczeństwo i estetykę urządzenia lub zastosowań, w których występują ostre krawędzie blach lub płyt. Wykonane z kauczuku silikonowego MVQ o twardości 60±5 wg skali Shore A, zapewniają ochronę przed skaleczeniem lub otarciem przez operatora oraz zapobiega uszkodzeniom powierzchni. Posiadają niebieski kolor RAL 5010, wykorzystywany szczególnie w przemyśle spożywczym i farmaceutycznym.
Jedną z kluczowych cech osłon krawędzi GN 2194 jest ich szeroki zakres temperatury pracy. Mogą one działać w temperaturach od -50°C do 200°C, co czyni je wszechstronnymi w różnych środowiskach i aplikacjach. Ta elastyczność temperaturowa umożliwia stosowanie osłon w warunkach ekstremalnych, zarówno w niskich, jak i wysokich temperaturach.
Materiał zastosowany do produkcji osłon krawędzi GN 2194 to kauczuk silikonowy MVQ, który jest zgodny z regulacjami FDA. Dzięki temu osłony są odpowiednie do zastosowań, wymagających zgodności z normą FDA 21 CFR 177.2600. Dodatkowo, wersja silikonowa spełnia również wytyczne normy sanitarnej 3-A oraz DIN ISO 10993, co czyni je odpowiednimi do zastosowań w branży spożywczej i medycznej, gdzie higiena i bezpieczeństwo są priorytetowe.

Rys. 2. Budowa osłony krawędzi
Osłony krawędzi GN 2194 są łatwe w montażu. Zaleca się przestrzeganie wytycznych dotyczących promieni łuków, co pozwala na trwałe ułożenie osłony i ułatwia proces montażu. Montaż można przeprowadzić za pomocą dłoni lub gumowego młotka. Wbudowana wkładka zaciskowa, wykonana z poliestrowego zespołu zaciskowego ze zbrojeniem stalowym ze stali AISI 304, zapewnia pewne i trwałe mocowanie osłony krawędzi, eliminując potrzebę stosowania kleju lub innych spoiw.

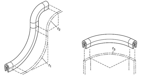
Rys. 3. Dopuszczalne promienie łuków r1, r2 i r3 są wyszczególnione w karcie katalogowej
Przy użyciu osłon krawędzi GN 2194 można zminimalizować ryzyko skaleczeń lub otarć podczas obsługi maszyn i urządzeń wykonanych z blachy. Dzięki zabezpieczeniu krawędzi osłoną, ryzyko wystąpienia urazu zostaje znacznie zredukowane. Ponadto, zastosowanie tych osłon poprawia również estetykę urządzenia.
Osłony krawędzi GN 2194 mają szerokie zastosowanie. Oprócz zabezpieczenia krawędzi blach i płyt, mogą być również używane do prowadzenia przewodów i wężyków przez otwory, gdzie krawędzie przegród rozdzielających muszą być zabezpieczone. W takich przypadkach osłony krawędzi zapewniają ochronę przed ścieraniem lub przecięciem przewodów, przyczyniając się do zwiększenia trwałości i bezpieczeństwa aplikacji.
Warto również wspomnieć, że zastosowanie osłon krawędzi GN 2194 eliminuje konieczność dodatkowych procesów obróbki krawędzi, takich jak gratowanie i fazowanie ciętych lub wypalanych arkuszy. Oznacza to oszczędność czasu i zasobów, a także poprawę efektywności procesu produkcyjnego.
Podsumowując, osłony krawędzi GN 2194 są skutecznym rozwiązaniem do zakrywania krawędzi blach i płyt. Wykonane z kauczuku silikonowego MVQ, zgodne z FDA, zapewniają trwałą i elastyczną ochronę w szerokim zakresie temperatur. Montaż jest prosty, a wbudowana wkładka zaciskowa zapewnia pewne mocowanie. Dzięki zastosowaniu osłon krawędzi, ryzyko urazów i uszkodzeń powierzchni zostaje zredukowane, a dodatkowe procesy obróbki krawędzi są zbędne. To rozwiązanie, które poprawia bezpieczeństwo, estetykę i wydajność aplikacji, zwłaszcza w branży spożywczej, medycznej, urządzeniach chłodniczych i innych, gdzie zachowanie wysokiej higieniczny i zgodności z normami jest najważniejsze.
Link do karty katalogowej opisywanego produktu: